1 主題內容與適用范圍
本標準規定了工作座椅的術語、結構型式、主要尺寸和一般人類工效學要求。
本標準適用于一般工作場所(含計算機房、打字室、控制室、交換臺等場所)坐姿操作人員使用的工作座椅。
本標準不適用于辦公室和家庭用椅,不適用于安裝在生產設備上的固定式工作座椅、駕駛員座椅和在狹小作業空間使用的工作座椅。
2 引用標準
GB 10000 中國成年人人體尺寸
3 術語
3.1 工作座椅
工作座椅是供坐姿工作人員使用的一種由支架、腰靠、坐面等構件組成的坐具。
3.2 坐面
工作座椅直接與人臀部接觸的主要承重表面。工作座椅的坐面有帶座墊的柔性坐面和不帶座墊的剛性坐面兩種型式。
3.3 座墊
由彈性材料及蒙面材料組成的柔性坐面。
3.4 座高
坐面前緣起拱處最高點與座椅支點所在水平基準面之間的垂直距離。
3.5 座寬
坐面左右邊緣間通過座椅轉動軸與坐面交點處且垂直于左右對稱面的水平距離(無轉動軸的座椅,該參數在坐面深度方向二分之一處測量)。
3.6 座深
在與座寬相垂直的對稱面內,坐面前緣與過腰靠支承點所引垂線間的水平距離。
3.7 腰靠
配置在座椅上主要起支撐腰部作用的構件。
3.8 腰靠長
腰靠左右邊緣間的最大水平距離。
3.9 腰靠寬
腰靠上下邊緣間的最大直線距離。
3.10 腰靠厚
腰靠在受力狀態下,在其左右對稱面內、腰靠寬中點處,前后緣間的垂直距離。
3.11 腰靠高
腰靠寬中點處到座椅轉動軸與坐面交點處所在水平面的垂直距離。
3.12腰靠圓弧半徑
腰靠在受力被壓縮且腰靠傾角β=90°的情況下,過其左右對稱面上腰靠寬中點的水平面與腰靠前緣圓弧面相交曲線的曲率半徑。
3.13 傾覆半徑
以座椅轉動軸在水平基準面上的垂直投影點為圓心所畫的與水平基準面上任意兩相鄰(座椅)支點之連線相切的若干圓中,尺寸最小的圓半徑。
3.14 坐面傾角
坐面與水平面之間的夾角。
3.15腰靠傾角
腰靠在受力狀態下,其左右對稱軸與水平面之間的夾角。
4 基本要求
4.1 工作座椅的結構型式應盡可能與坐姿工作的各種操作活動要求相適應,應能使操作者在工作過程中保持身體舒適、穩定并能進行準確的控制和操作。
4.2 工作座椅的座高和腰靠高必須是可調節的。座高調節范圍在GB 10000中“小腿加足高”,女性(18~55歲)第5百分位數到男性(18~60歲)第95百分位數,即360~480mm之間。
工作座椅坐面高度的調節方式可以是無級的或間隔20mm為一檔的有級調節。
工作座椅腰靠高度的調節方式為165~210mm間的無級調節。
4.3 工作座椅可調節部分的結構構造,必須易于調節,必須保證在椅子使用過程中不會改變已調節好的位置并不得松動。
4.4 工作座椅各零部件的外露部分不得有易傷人的尖角銳邊,各部結構不得存在可能造成擠壓、剪鉗傷人的部位。
4.5 無論操作者坐在座椅前部、中部還是往后靠,工作座椅坐面和腰靠結構均應使其感到安全、舒適。
4.6 工作座椅腰靠結構應具有一定的彈性和足夠的剛性。在座椅固定不動的情況下,腰靠承受250N的水平方向作用力時,腰靠傾角β不得超過115°。
4.7 工作座椅一般不設扶手。需設扶手的座椅必須保證操作人員作業活動的安全性。
4.8 工作座椅的結構材料和裝飾材料應耐用、阻燃、無毒。座墊、腰靠、扶手的覆蓋層應使用柔軟、防滑、透氣性好、吸汗的不導電材料制造。
4.9 工作座椅坐面,在水平面內可以是能夠繞座椅轉動軸回轉的,也可以是不能回轉的。
5 結構型式
工作座椅必須具有的主要構件:坐面、腰靠、支架。
工作座椅視情況而設的輔助構件有:扶手。
工作座椅的主要參數數據見圖1、表1。

圖1
表1 工作座椅主要參數

注:①表中各符號所代表的參數意義見圖1~圖3。
?、诒碇兴袇礱、f、g、α、β為操作者坐在椅上之后形成的尺寸、角度。測量時應使用規定參數的重物代替坐姿狀態的人。
③表中參數的確定,考慮了操作者穿鞋(女性鞋跟高20mm,男性鞋跟高25~30mm)和著冬裝的因素。
6 各部分要求
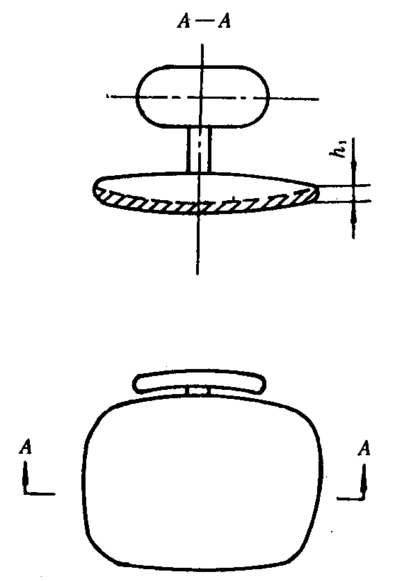
6.1 坐面
6.1.1 坐面表面有兩種基本型式:
a.縱向(座深方向)平展的,其傾角為0°~5°;
b.縱向前緣起拱的。
任意一種型式的坐面,其橫向高度差h1不得大于25mm(見圖2),坐面前緣起拱高度h2最小應為40mm,起拱半徑R1最小為40mm,最大為120mm(見圖3)。

圖2

圖3
6.1.2 坐面前緣縱向起拱時,前部傾角α
1=4°~5°,后部傾角α
2=10°~15°,兩角頂交點位于距坐面前緣座深2/3處。
6.1.3 坐面前緣縱向起拱時,縱向高度差h
3不得大于40mm(見圖3)。
6.1.4 當座墊為彈性結構時,最下層支撐部分應有一定的剛性,中間彈性層變形量不宜過大(座墊厚度不宜大于30mm),當按表1規定的測量要點進行測量時,座墊變形后形成的各尺寸參數應符合本標準,規定。
6.1.5 坐面留有通氣孔或帶排氣溝槽(見圖4)時,孔和溝槽的存在不應影響坐面其他參數。

圖4
6.2 腰靠
6.2.1 腰靠應能調節高度。
6.2.2 腰靠的形狀應保證使人體壓力盡量分布均勻。
6.2.3 腰靠若裝有軟墊,在其沿座深方向垂直剖面內的曲率半徑必須大于1400mm。
6.3 支架
6.3.1 工作座椅支架至少必須有5個支點。支架支點可以使用球形或鼓形小輪,也可以在某一個或某幾個支點使用滑塊。
6.3.2 空椅滑移阻力應不小于15~20N。
6.4 扶手
工作座椅若設扶手時,其有關尺寸應滿足下列條件:
a.扶手上緣與坐面的垂直距離 230±20mm;
b.兩扶手內緣間的水平距離最大 500mm;
c.扶手長度 200~280mm
d.扶手前緣與坐面前緣的水平距離 90~170mm;
e.扶手傾角 固定式0°~5°;
可調式0°~20°。
附加說明:
本標準由中華人民共和國勞動部提出。
本標準由遼寧省勞動保護科學研究所、機械電子工業部機械標準化所、北京醫科大學、中國人民大學負責起草。
本標準主要起草人樊錫瑛、胡天錫、王生、孫樹菡、馮海燕。